这是一篇关于杉杉控股及其关联方新增巨额被执行信息,并探讨其创始人去世后公司发展状况的文章:
"标题:杉杉控股新增被执行18.3亿元 创始人去世后“杉杉系”显颓势"
近日,中国知名民营控股企业——杉杉控股及其关联公司再陷债务危机,新增多个被执行人信息,总金额高达18.3亿元人民币。这一消息再次将这家曾以“杉杉系”闻名、由著名企业家张近东创立的庞大商业帝国推向舆论的风口浪尖。值得注意的是,此番巨额被执行,正值其创始人张近东先生不幸离世之后不久,更引人关注的是,“杉杉系”在失去核心掌舵人后,似乎正经历着前所未有的动荡与挑战。
"巨额债务:严峻的现实困境"
根据公开的司法文书信息显示,杉杉控股及其多家关联公司(如上海杉杉股份有限公司、杉杉奥莱商业管理(上海)有限公司等)因合同纠纷、买卖合同纠纷等原因,被多家法院列为被执行人,累计被执行金额已达18.3亿元。这一数字对于任何企业而言都是一笔巨款,尤其对于一家拥有多元化业务(涵盖新能源、时尚零售、科技健康、金融投资等多个领域)的控股集团来说,其影响更为深远。
新增的巨额被执行信息,无疑加剧了市场对杉杉控股及其“杉杉系”整体财务健康状况的担忧。
相关内容:
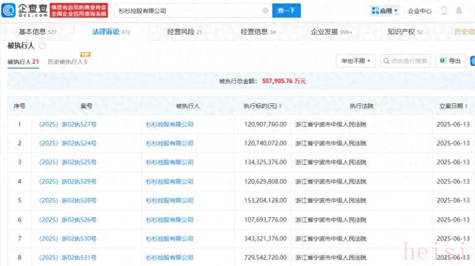
近日,企查查APP显示,杉杉控股有限公司新增8条被执行人信息,执行标的合计18.3亿余元,部分案件被执行人还包括宁波典程实业有限公司、宁波欣佑实业有限公司等,执行法院均为浙江省宁波市中级人民法院。风险信息显示,杉杉控股有限公司现存20余条被执行人信息,此外,该公司还存在多条股权冻结信息。


据悉,5月26日,杉杉股份发布公告,间接控股股东杉杉控股有限公司将其持有的公司无限售流通股1300万股进行司法处置。这部分股份占杉杉控股持有公司股份总数的18%,占公司总股本的0.58%。此次司法处置的起始单价为竞买日前二十个交易日收盘均价的90%,未超过该价格的竞买出价将被视为无效。
根据公告,杉杉控股在司法执行平台发布的公告显示,处置将于2025年6月24日进行,竞买人需符合合格投资者条件,且成交后需遵守上市公司股票减持相关规定。
若此次司法处置及前期的处置全部成交,杉杉控股的持股将降至3705万股,占公司总股本的1.64%。公司表示,此次司法处置预计不会对日常经营管理造成影响。
值得注意的是,此前杉杉股份股票曾一度被拍卖但仅有一人报名,2025年3月25日上午10点,因无人出价,杉杉股份2958万股股票一拍流拍。阿里法拍网显示,该股权市场价为2.15亿元,拍卖起拍价为2.10亿元,保证金为3865.51万元,仅有1人报名,但围观次数高达6.11万次。
据公开资料,杉杉集团有限公司成立于1994年6月28日,企业地址位于浙江省宁波市鄞州区首南街道日丽中路777号26层,法定代表人为周敏,注册资本约3亿人民币。 公司经营业务涵盖服装制造与销售、进出口贸易、锂电池材料、太阳能电池组件等。
1989年5月,郑永刚接手杉杉的前身——宁波甬港服装总厂。 1996年,杉杉集团有限公司以“杉杉股份”为主体在上交所挂牌上市。2007年7月23日,杉杉参股的宁波银行正式挂牌上市。2008年,杉杉集团总资产突破100亿元。
2013年,杉杉股份的锂电业务营收21.64亿元,首度超过总营收50%。 2014年,杉杉股份开始为其正极材料项目扩张产能。2016年2月,杉杉股份旗下正极业务公司杉杉能源在新三板上市。 2018年,杉杉股份启动了硅基负极的研发工作。 2024年5月16日消息,杉杉股份控股股东杉杉集团有限公司(“杉杉集团”)发生工商变更,周敏成为法定代表人。
2025年1月27日消息,杉杉股份发布公告称,杉杉集团有限公司的相关债权人已向人民法院递交对杉杉集团进行重整的申请。 2月26日晚,杉杉股份公告称,当天收到控股股东杉杉集团转发的《民事裁定书》,浙江省宁波市鄞州区人民法院已于2月25日裁定受理申请人对杉杉集团的重整申请。
(齐鲁晚报·齐鲁壹点客户端编辑韩爽 综合企查查、封面新闻、百度百科等)
